Celebrity Invention: Frank Lloyd Wright's Structural Glass
Some celebrities aren't just pretty faces. A few of them are also touched with that Yankee prowess for tinkering and invention. In this weekly series, we introduce you to the Patents of the Rich and Famous. And maybe you learn a little bit about how patent literature works along the way.
Inventor: Frank LLoyd Wright
Known For: If you're playing categories, with famous American architects as the category, Frank Lloyd Wright would likely be your first and maybe only response. Throughout his career, Wright designed dozens of buildings, including offices, schools, private residences and churches in various styles. He's built weird stuff, he's built useful stuff. He's built rural houses, he's built urban office buildings. From his beautiful organic structures, such as Fallingwater (Mill, Pennsylvania) and Taliesin (Scottsdale, Arizona), to his prairie houses, which populate the Chicago suburbs, Wright's work permeates the American landscape.
And, that's why he's one of America's most well-known architects.
Wright not only made his mark dreaming up distinct designs, but he also patented some of the techniques that made his buildings so unique.
Invented Apparatus: "Structural Glass"
As Wright advanced the art of architecture using creative and new design elements in his buildings, he also innovated new techniques for manipulating building materials, such as this patent for structural glass:
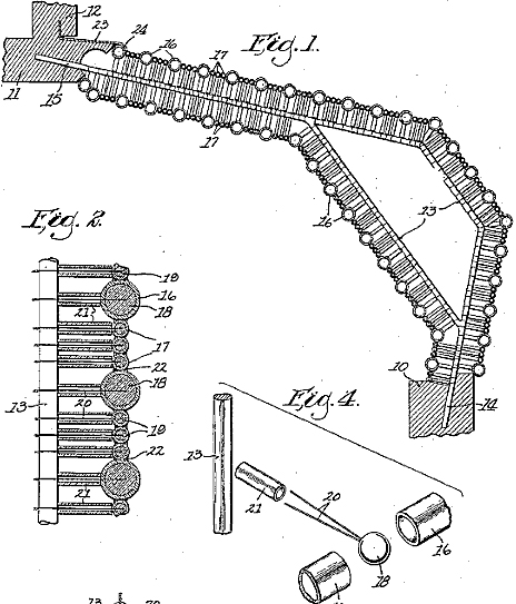
This invention relates to structural glass and more particularly to a novel form of structural glass assembly composed of tubular and ball elements. An object of the invention is to provide structural glass elements which will have a broader utility for modification than is possible with structural glass units now in use, such as glass bricks, panes or the like.
It's a better, prettier way to assemble glass in a round or tubular format that was not previously possible with other panes or bricks. Using balls of glass together with plastic tubes and wires, Wright created a more malleable type of glass.
Rationale Behind Invention: Wright used this innovation in his S.C. Johnson and Wax Headquarters building (Racine, Wisconsin).
He couldn't have built those windows without this invention.*
Off-Label Uses: Fun fact: Wright's son invented Lincoln Logs. We bet he got his hands on some structural glass and tried a Glass Panes concept first.
Future Directions: We want unbreakable glass so that we can finally throw stones at glass houses.
Peruse more Celebrity Inventions.
This post originally stated the technique was used to build the poles. We regret the error.

